Nepřihlášený uživatel Přihlásit Registrace NIA
Webové aplikace Úřadu průmyslového informací užívají nezbytné soubory cookies k technickému zajištění funkčnosti a pro potřeby poskytování služby informační společnosti, která je výslovně vyžádána uživatelem. Rozumím

Detail: PV2000-2324

Údaje byly získány dne: 07.12.2025 11:01. 
Poslední aktualizace dat: ÚPV-ČR 06.12.2025
UPOZORNĚNÍ: tento výpis má pouze informativní charakter a údaje pro jeho vytvoření byly získány na síti Internet. Domníváte-li se, že obsahuje chyby, obraťte se prosím na Úřad průmyslového vlastnictví.
Základní bibliografie 
(21) Číslo přihlášky
2000-2324
(11) Číslo dokumentu
289592
(22) Datum podání
21.06.2000
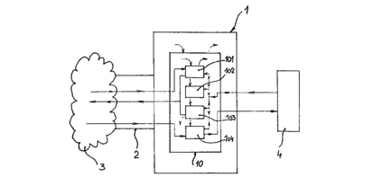
(54) Název
CS: Způsob provádění změn ve složení digitálních množin dat a informací
EN: Method for carrying out changes in composition of digital data and information sets
(71/73) Přihlašovatel/Majitel
HANEČKOVÁ, Eva, Velká Dlažka 42, 750 02 Přerov, Česká republika
(72/75) Původce
Eva Hanečková, Přerov, Česká republika
Ing. Jiří Hanečka, Přerov, Česká republika
 Zástupce
ing. Petr Soukup, Švédská 3, 772 00 Olomouc, Česká republika
(51) MPT
H04N7/025 (2006.01), H04N7/16 (2006.01), H04N5/45 (2006.01), G06F17/00 (2006.01), G06F16/10 (2019.01)
(40) Datum zveřejnění
13.02.2002
(47) Datum udělení patentu
19.12.2001
(24) Datum publikace udělení ve věstníku ÚPV
13.02.2002
 Stav
Zaniklý dokument Stáhnout xml se stavem
  
5. - poplatek zaplacen
 Druh
PV národní s žádostí o udělení patentu
Časová osa 
21.06.2000

podání přihlášky

22.06.2000

podání žádosti o úplný průzkum

13.02.2002

zveřejnění a publikace udělení patentu

21.06.2005

zánik patentu

Anotace 
(57)  
CS:

Způsob provádění změn ve složení digitálních množin dat a informací přijímaných uživatelem z externího informačního prostoru, jehož podstata spočívá v tom, že složení původní množiny dat a informací se nejdříve dle předem definovaných parametrů a kritérií zadaných uživatelem zpracovává v zařízení na zpracování dat uživatele a poté se do ní a v její vrstvě uživatelem vkládají náhradní uživatelská data a informace i bez návaznosti na jejich uložení v zařízení pro zpracování dat uživatele, přijímané i bez návaznosti na jiné soubory dat a informací ze zdrojů nacházejících se v externím informačním prostoru skrze množinu datových a informačních kanálů, načež se původní množina dat a informací s provedenými změnami ve svém složení předává k zobrazení uživateli.


EN:

Disclosed is a method for carrying out changes in composition of digital data and information sets received by a user from an external information space, wherein the method is characterized in that composition of the initial data and information set is first processed according to parameters and criteria predefined by a user in a data processing equipment of the user and subsequently the user enters therein and in the layer thereof substitution user data and information even without link-up to its storage in the user data processing equipment, received even without link-up to other data and information files from sources occurring in external information space through a plurality of data and information channels, whereupon the initial data and information set with carried out changes in its composition is transferred for display of the user.

Obrázek 
  
Reprodukce
Dokumenty 
 Zveřejněná přihláška
 Udělený patent
Přehled položek řízení 
Oprávněná úřední osoba / umístění: archiv / archiv
Číslo položkyDatum evidence podáníDatum odesláníNázev položkyDatum vyřízení žádostiDatum nabytí právní mociPoplatek uhrazenDatum evidence platbyČíslo věstníku
   sken spisu     
 21.06.2005 ZÁNIK PATENTU § 22b nezaplacení popl.ve lhůtě    2006/02  publikováno: 15.02.2006
10 28.03.2002doručení patentové listiny     
9 19.12.20011.- 5.rok-udržovací poplatek  Ano 15.01.2002 
  19.12.2001UDĚLENÍ PATENTU    2002/02  publikováno: 13.02.2002
  19.12.2001ZVEŘEJNĚNO    2002/02  publikováno: 13.02.2002
8 21.08.2001vyžádání poplatku za patentovou listinu  Ano 03.09.2001 
521.11.2000 přepracovaný materiál     
521.11.2000 vyjádření zástupce     
4 03.10.2000zpráva o výsledku úplného průzkumu     
322.06.2000 originál pro podání faxem     
222.06.2000 žádost o úplný průzkum26.06.2000 Ano 28.06.2000 
121.06.2000 PV - podání původcem  Ano 22.06.2000 
Oprávněná úřední osoba / umístění: archiv / archiv
Název položky
sken spisu

Datum evidence podání
21.06.2005
Název položky
ZÁNIK PATENTU § 22b nezaplacení popl.ve lhůtě
Číslo věstníku
2006/02  publikováno: 15.02.2006

Číslo položky
10
Datum odeslání
28.03.2002
Název položky
doručení patentové listiny

Číslo položky
9
Datum odeslání
19.12.2001
Název položky
1.- 5.rok-udržovací poplatek
Poplatek uhrazen
Ano
Datum evidence platby
15.01.2002

Datum odeslání
19.12.2001
Název položky
UDĚLENÍ PATENTU
Číslo věstníku
2002/02  publikováno: 13.02.2002

Datum odeslání
19.12.2001
Název položky
ZVEŘEJNĚNO
Číslo věstníku
2002/02  publikováno: 13.02.2002

Číslo položky
8
Datum odeslání
21.08.2001
Název položky
vyžádání poplatku za patentovou listinu
Poplatek uhrazen
Ano
Datum evidence platby
03.09.2001

Číslo položky
5
Datum evidence podání
21.11.2000
Název položky
přepracovaný materiál

Číslo položky
5
Datum evidence podání
21.11.2000
Název položky
vyjádření zástupce

Číslo položky
4
Datum odeslání
03.10.2000
Název položky
zpráva o výsledku úplného průzkumu

Číslo položky
3
Datum evidence podání
22.06.2000
Název položky
originál pro podání faxem

Číslo položky
2
Datum evidence podání
22.06.2000
Název položky
žádost o úplný průzkum
Datum vyřízení žádosti
26.06.2000
Poplatek uhrazen
Ano
Datum evidence platby
28.06.2000

Číslo položky
1
Datum evidence podání
21.06.2000
Název položky
PV - podání původcem
Poplatek uhrazen
Ano
Datum evidence platby
22.06.2000

Převody a změny majitelů/vlastníků 
Licence 
Jiná práva a ostatní rozhodné údaje 
Úřední opravy 
Publikace ve Věstníku ÚPV 
  
2002/02  publikováno: 13.02.2002 - ZVEŘEJNĚNO
2002/02  publikováno: 13.02.2002 - UDĚLENÍ PATENTU
2006/02  publikováno: 15.02.2006 - ZÁNIK PATENTU § 22b nezaplacení popl.ve lhůtě
Příbuzné spisy